Environment

Rivian’s latest patents detail new headlamp and energy storage system with grid capabilities

Rivian's latest patents detail new headlamp and energy storage system with grid capabilities

Another week, another patent filing with the USPTO from Rivian. Filings from Rivian, published today, detail an ornamental headlamp design, as well as a home energy storage system similar to Tesla’s Powerwall. Could this be our first glimpse at Rivian’s version of home energy management technology, including vehicle-to-grid (V2G) capabilities?

Today’s patent news follows several exciting filings Rivian submitted to the United States Patent and Trademark Office last week. We covered those submissions in detail, including a new BEV architecture that no longer utilizes a 12V battery, an automated rear diffuser, and on-screen “gadgets” in the infotainment and navigation.

Less than a week later, Rivian has five additional patents published by the USPTO as of September 30, 2025. Of those filings, we see an obstacle detection system for the tonneau cover, a vehicle state estimation system, a battery thermal release layer, and an ornamental headlamp design, as shown below.

Lastly, Rivian also has a published patent filing for an energy storage system

Advertisement – scroll for more content

Source: USPTO.gov

Rivian files patent for headlamp, energy storage system

According to patent US D1,095,903 S published on September 30, 2025, Rivian IP Holdings submitted the filing for an ornamental headlamp back on October 20, 2023. There are a few details aside from several figure illustrations in the submitted document, which states that the 15-year patent covers “the ornamental design for an automobile headlamp as shown and described.”

In addition to the headlamp, Rivian also has a new patent number US 12,431,551 В2, which details an energy storage device. The abstract of the patent primarily details energy monitoring of connected devices as well as light indicators after detecting nearby motion.

Rivian energy storage
Source: USPTO.gov

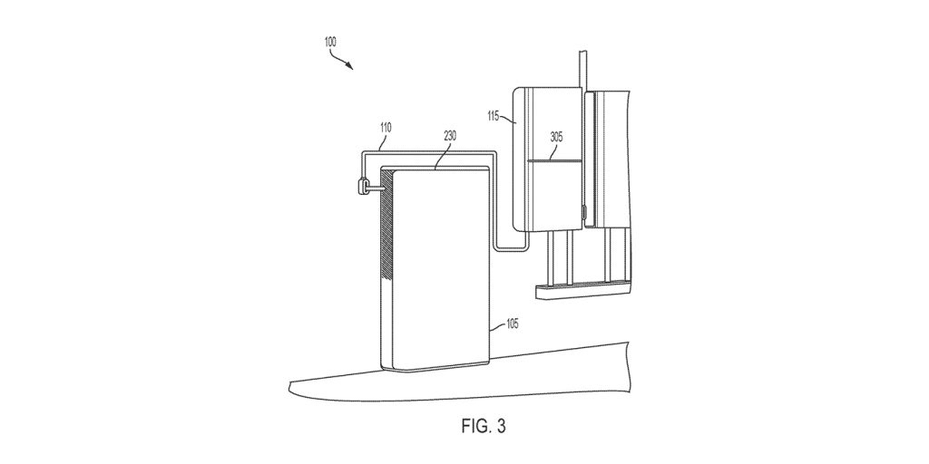
However, further documentation published alongside the images seen above reveals a wealth of additional design plans, including electrical grid interface capabilities, which hint at Vehicle-to-Grid (V2G) capabilities, or in reality, vehicle-to-everything (V2X). Per the patent (FIG.1 coincides with the featured image at the top of the page):

FIG. 1 depicts an energy storage system 100, in accordance with some aspects. The energy storage system 100 includes one or more energy storage devices 105. For example, the energy storage device 105 can store chemical, electrical, or mechanical energy. The energy storage device 105 can be associated with (e.g., can provide power to or from) a cabin, home, vehicle, or campsite. The energy storage device 105 can be fixed or portable (e.g., can be vehicle mounted, affixed to a permanent structure, or freely moved). For example, the energy storage device 105 can be intended for stationary operation, based on power received or delivered to the stationary location, or can be intended for movable operation (e.g., in response to a need for power at
a remote location, such as a campsite.) For example, the energy storage device 105 can be an electric vehicle battery pack 160 of an electric vehicle 155 configured to provide propulsion for the electric vehicle 155 or accessory power for a user associated with the electric vehicle 155 (e.g., for lighting, cooking, and music). The vehicle battery 160 can provide energy to or from the components of FIG. 1 such as the energy storage device 105 or the grid 150.

So essentially, Rivian has a patent on its own branded energy storage system, which can include battery cells to store excess energy from a vehicle, the grid, or solar panels, and power a home at a homeowner’s request, similar to technology already rolled out by competitors like Tesla, Ford, and GM Energy.

Could we soon see Rivian energy storage and V2X capabilities in the homes of R1 owners? Time will tell!

FTC: We use income earning auto affiliate links. More.